
Hockey Training System
2019 – 2021

THE PRODUCT
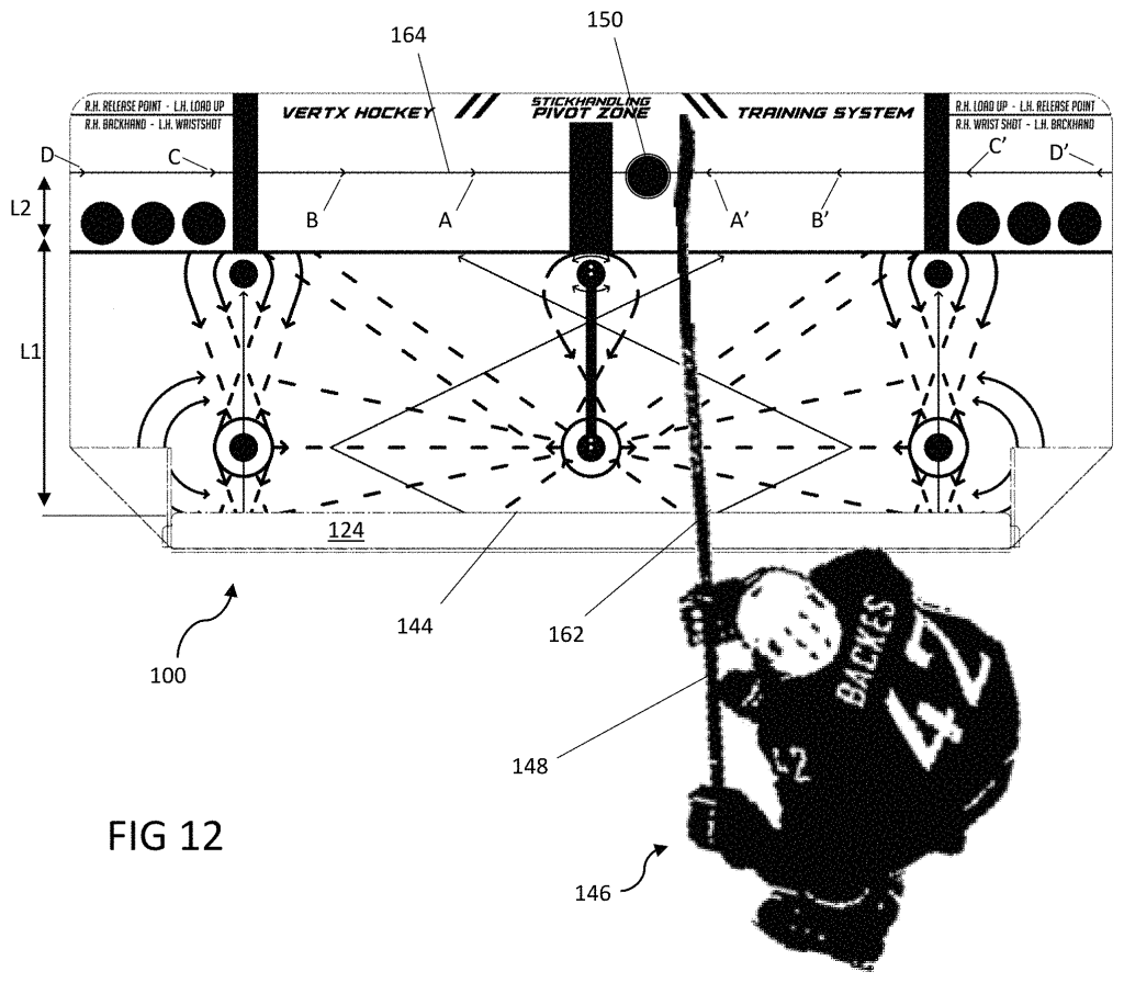
In 2019 a hockey coach and entrepreneur approached DiMonte Group with a vision: a hockey training system designed to improve puck handling and shooting techniques. As a coach, our client noticed that many players were moving the blade of their hockey sticks in an arcing motion when shooting and puck handling, rather than the more effective linear motion. His goal was to create a product that would isolate and train this precise linear movement.
MY CONTRIBUTIONS
As the Lead Industrial Designer on the project I helped turn our client’s vision into a manufacturable, first of it’s kind product.
Ergonomic Testing
Before diving into the design, I needed to understand the best way to isolate the linear shooting motion. Using foam core, cardboard, aluminum, and plastic sheets, I built a series of mockups to test different arrangements of guides, stops, and floor markings. Through close collaboration with the client, I pinpointed the optimal setup: a flat guide bar aligned with a wide straight line. This setup worked with a wide range of player sizes and hockey stick geometries.




Design for Manufacturing
With the concept in hand, the next challenge was to design a product that could be manufactured in low quantities with minimal initial cost. I explored several possibilities and ultimately drew inspiration from foldable kayaks. This led me to design the product from a single continuous piece of high-density polyethylene (HDPE). Known for its hard, slippery surface, ideal for a hockey mat, HDPE is also perfect for creating living hinges.

LOW FIDELITY PROTOTYPING
I brainstormed various ways a flat sheet could be folded to form a rigid guide bar, using paper grid sheets to create dozens of origami-style scale models. After numerous iterations, I discovered a pattern that was strong, efficient, and could fold flat for storage. I then ordered small test samples to fine-tune the living hinge geometry before 3D modeling the training pad in SolidWorks and producing our first full-scale prototype.
Enhanced Functionality
The client’s initial idea was straightforward; a product with a guide bar. But through our design process, I saw an opportunity to add even more functionality. When the guide bar is folded up, the Puck Tutor helps train puck handling and shooting. When the guide bar is down, the product transforms into a large, slippery surface ideal for practicing various stick handling techniques like toe drags and figure eights. Additionally, the Puck Tutor folds flat for easy transportation and storage.
Design Details



Patentable Technology
The innovative technology we developed for this project was so unique that our client was able to secure a US utility patent and design patent, protecting the core principles of his idea until 2040.
USD964490S1 – Sports drill training apparatus
US11389705B2 – Hockey training board for puck handling and shooting


